首页
协会简介
工作动态
通知通告
创新&研究
政策法规
先进典型
人防检测
监理分会
会员心声
当前位置:
网站首页
-
培训考试
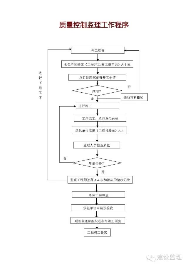
- 质量控制监理工作程序
质量控制监理工作程序
已浏览 次 发布时间:2021年3月17日 信息来源:江苏省人防企业协会